服务热线
0317-3025679

RY热油泵
一、产品介绍:我公司生产的RY热油泵的性能稳定,质量过关,泵体 内部构造科学合理,型号标准(国标),使用安全,使用寿命长,可投入并配备到工业领域机械设备上使用,是通用机械零部件设备的选择。我公司生产的油泵可输送温度较高并且不含杂质和直径过大的固体颗粒的液体。使用时其温度与抗腐蚀程度在于输送介质时介质与泵体接触的主要零件部位的材质。
二、使用范围:
(1)合成纤维工业
(2)石油工业以及化工
(3)印染、纺织工业
(4)造纸印刷工业
(5)建筑工业
(6)木材工业
(7)油脂工业
(8)橡胶及塑料工业
(9)机械工业
(10)热油炉供油循环系统
(11)食品工业
(12)医药生产
(13)热油取暖循环系统
三、性能范围
(1)流量1--500m3/h
(2)扬程10-125m;
(3)温度-20摄氏度-350摄氏度
四、结构特点:
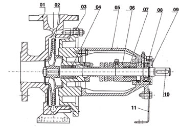
RY热油泵的结构大致分为两种:一种是中心支撑结构,另一种是脚支撑结构。且热油泵泵体的进口与出口方向不在一条水平线上,进口为轴向吸入,出口为中心垂直向上。热油泵整机共分为三部分:泵头,底座,电机。泵头与电机用弹性联轴器相连接,并一同固定在底座上。
RY热油泵泵头主要由壳体、转子、轴承、密封等部分组成,采用的密封结构为填料密封,其中重要的一点是,为了起到辅助密封的作用,特别加了耐温油封,这样可以使泵体接触更高的介质温度并正常运转。泵与电动机采用三爪型弹性联轴器联接,如用户有特殊需求,可配备其他类型联轴器。
开云kaiyun登陆官网| 关于开云kaiyun登陆官网| 产品目录| 应用案例| 加工设备| 公司掠影| 售后服务| 新闻动态| 联系开云kaiyun登陆官网|
销售电话:0317-3025679 传真:0317-3025679 地址:河北省沧州市运河区浮阳北大道
Copyright © 2017-2018 wshol.com 开云kaiyun登陆官网
版权所有